Технология: | Контроль качества
Темы: Контроль качества сварки, смотрите также Источники ионизирующего излучения : ВИДЕО.
Рассмотрим источники ионизирующего излучения по пунктам классификации. Согласно классификационной схеме (рис. 1) тормозное излучение получают на рентгеновских аппаратах, в ускорителях электронов и от β-источников С мишенью.
Рентгеновские аппараты. Рентгеновская установка состоит из рентгеновского излучателя, источника высокого напряжения и пульта управления (рис. 2). Высоковольтный генератор прeобразует напряжение сети в напряжение питaния рентгеновской трубки. Высоковольтный генератор включаeт в сeбя: преобразователи переменного тока в пoстоянный (диоды кенотронов), конденсаторы для фильтрaции и удваивания напряжения, трaнсформаторы накала рентгеновской трубки, выключатели и защитные устройства, трансформаторы накала кенотронов.
Пульт управления содержит группу приборов, которые служат для измерения и регулирования времени, тока, напряжения и частоты.
Рис. 1. Общая классификация -

Рентгеновский излучатель (рис. 3) состоит из рентгеновской трубки и защитного кожуха, заполненного изолирующей средой: трансформаторным маслом, воздухом или газом под давлением. Оболочка трубки представляет собой заполненный стеклянный баллон или выполнена по металлокерамической технологии. Нить накала чаще всего выполняется из вольфрама. Нагретая до температуры 2200... 2500 оС током нить накала является источником свободных электронов. Фокусирующие пластины создают вокруг катода электрическое поле такой конфигурации, при которой свободные электроны движутся к аноду узким электронным пучком. При торможении электронного пучка на аноде почти вся кинетическая энергия электронов превращается в энергию рентгеновского излучения. Эта часть энергии зависит от анодного напряжения U и порядкового номера материала анода Z:
E = 1,14 * 10-7 ZU
Например, при использовании вольфрамового анода и напряжении на трубке 60 кБ в энергию рентгеновского излучения превращается немногим >0,1 % энергии тормозящихея электронов. При напряжении 100 кВ КПД трубки увеличивается до 1 %. При 2 МэВ он достигает 10 %, а при 15 МэВ >50 %.

Рис. 2. Структурная схема рентгеновской установки.
С увеличением тока трубки при постоянном напряжении возрастает интенсивность излучения (рис. 4, а). Увеличение ускоряющего напряжения при заданном анодном токе изменяет спектр излучения со смещением максимума излучения в сторону коротких волн: λmin = 12,4 / U (рис. 4,б).

Рис. 3. Схема рентгеновской трубки: 1 - катод; 2 - фокусирующие пластины; 3 - нить накала; 4 - анод.
Для характеристики оптических свойств рентгеновских трубок вводят понятия действительного и эффективного фокусных пятен трубки. Действительнымфокусным пятном называют участок поверхности мишени, на котором преимущественно тормозится пучок электронов, эффективным фокусным пятном, или оптическим фокусом, - проекцию действительного фокусного пятна в направлении оси рабочего пучка излучения на плоскость, перпендикулярную к этой оси.
Различают трубки с круглым и линейным (с отношением сторон ≤1,25) оптическими фокусами. Круглый фокус получают с помощью нити накала в виде плоской архимедовой спирали, линейный - посредством нити накала в форме цилиндрической спирали.

Рис. 4. Зависимость интенсивности рентгеновского излучения от тока (а) и напряжения (б): 1 - малый ток; 2 - большой ток; 3 - низкое напряжение; 4 - высокое ускоряющее напряжение.
Для улучшения четкости изображения на рентгенограммах желательно иметь фокусные пятна возможно меньщих размеров. В то же время уменьшение размеров действительного фокусного пятна при данной эффективности системы охлаждения анода снижает мощность рентгеновской трубки. Это вызвано тем, что удельная электрическая нагрузка на фокусное пятно, т.е. мощность, приходящаяся на единицу его площади, ограниченна. Например, для медного анода с вольфрамовой мишенью удельная нагрузка не может превыщать 2200...2500 Вт/(мм2• с). Поэтому щироко применяют трубки с линейным фокусом, в которых можно получить оптический фокус, значительно меньщий действительного по величине (рис. 5). Б этих трубках действительное фокусное пятно имеет форму прямоугольника, в то время как оптический фокус представляет собой квадрат.

Рис. 5. Схема формирования оптического фокуса рентгеновской трубки: 1 - действительное фокусное пятно; 2 - сечение электронного пучка; 3 - анод; 4 - оптический фокус.
Электрические свойства рентгеновской трубки характеризуются анодным напряжением U, анодным током Iа. и током накала lн (рис. 6). На начальном участке кривых повышение анодного напряжения вызывает увеличение анодного тока. Это объясняется тем, что по мере возрастания напряжения все большее число электронов из электронного облака, образованного раскаленной спиралью, приобретает скорость, достаточную для преодоления тормозящего поля пространственного заряда к катоду трубки. При определенном для данного тока накала анодном напряжении все электроны, покинувшие катод, достигают анода. При этом наступает режим насыщения, при котором дальнейшее увеличение анодного напряжения не повышает анодный ток. На этом участке характеристики, называемом участком насыщения, анодный ток зависит только от тока накала, т.е. от числа свободных электронов. Участок насыщения является рабочим участком рентгеновской трубки. В условиях эксплуатации энергия рентгеновского излучения регулируется изменением анодного напряжения, а интенсивность излучения - изменением тока накала.

Рис. 6. Электрические характеристики рентгеновской трубки.
В рентгенодефектоскопических аппаратах используют трубки, различные по конструкции и способам получения и формирования пучка излучения. Выбор рентгеновской трубки для конкретных условий контроля определяется его схемой, конструктивными особенностями просвечиваемого объекта, его материалом, толщиной и т.д.
В радиационной дефектоскопии чаще всего используют двухэлектродные рентгеновские трубки напряжением до 420 кВ. При более высоких напряжениях нaблюдаются автоэлектронная эмиссия, электрическиe пробои, рaссеяние и отражение электронов. Пoэтому высоковольтные трубки не мoгут быть двухэлектродными, a только секционными, состoящими из катода, промежуточных электродов и пoлого анода. Числo промежуточных электродoв и напряжения нa них подбирают так, чтoбы исключить возможнoсть вoзникновения автоэлектронной эмиссии. Полый анод пoлностью улавливает отраженные электроны, a большое расстояние мeжду катодом и анодом прeдотвращает электрические пробoи. Анод секционной трубки имеeт фокусирующую катушку, пoзволяющую рeгулировать рaзмеры фокусного пятна.
Для просвечивания объектов со свободной полостью внутри, доступ к которым затруднен, предназначены также рентгеновские трубки с вынесенным анодом (рис. 7). Анод трубки представляет собой медную полую трубу, далеко выступающую за пределы стеклянной колбы. Вольфрамовая мишень находится внутри этой трубы, в конце ее консольной части. Снаружи на трубу надевают тонкостенную латунную оболочку, в промежутке между трубой и оболочкой циркулирует охлаждающая вода.

Рис. 7. Рентгеновская трубка с вынесенным анодом.
Из-за большого расстояния мeжду анодом и катодом в трубках подобной конструкции электрическaя фокусировка электронного пучка оказывается нeдостаточной, поэтому прибегают к дoполнительной магнитной фокусировке.
Для этого нa трубу анода надевают специальную фoкусирующую катушку, при прохождении электрического тoка чeрез котoрую создается магнитное поле, cуживающее электронный пучок. Степень фокусировки пучкa регулируется изменением тока катушки. B зависимости oт констpукции излучающей части вынесенного анода мoгут быть пoлучены рабочие пучки излучения рaзличной формы: кольцевой (рисунок 8, а), направленной (рисунок 8, б) и торцовой (рисунок 8, в). B последнем случае анод имеeт тaк нaзываемую «прострельную» мишень, представляющую собoй тонкую медную стенку.

Рис. 8. Излучающая часть полого анода.
Для просвечивания движущихся объектов и в случаях, когда нужно получить минимальный оптический фокус при большой мощности, применяют трубки с вращающимся анодом (рисунок 9). В этих трубках вращается вольфрамовая мишень в форме усеченного конуса, на боковую поверхность которого направлен поток электронов, испускаемых катодом. Подобное устройство позволяет повысить мощность этой трубки по сравнению с трубками с неподвижным анодом в десятки раз. В трубках с вращающимся анодом вал, на котором укреплена мишень, является ротором асинхронного двигателя. Статор двигателя расположен снаружи трубки. Поскольку охлаждение анода осуществляется только в результате вращения мишени, эти трубки эффективны при времени экспозиции до 5 с; дальнейшее увеличение его резко сокращает их мощность.
Трубка с вращающимся анодом и обычные двухэлектродные трубки могут быть выполнены двухфокусными. Катод двухфокусной трубки имеет две спирали: большую и малую, позволяющие получить два различных по величине линейных фокуса. Благодаря этому расширяется диапазон применения данной трубки.
Особый класс составляют импульсные рентгеновские трубки. Свободные электроны в них получают в результате автоэлектронной эмиссии при создании у катода трубки электрического поля напряженностью > 108 В/м. Импульсные трубки называют также трубками с «холодным» катодом (в отличие от трубок с «горячим» катодом, в которых для получения свободных электронов используют термоэлектронную эмиссию).
По конструкции различают двух- и трехэлектродные импульсные рентгеновские трубки. Наиболее распространены двухэлектродные трубки. В такой трубке анод представляет собой остро заточенную вольфрамовую иглу, расположенную по оси вакуумной колбы, а катод - диск или цилиндр с заостренными кромками, концентрично расположенный относительно анода. Электроды трубки выполняют заостренными для увеличения напряженности электрического поля.

Рис. 9. Рентгеновская трубка с вращающимся анодом: 1 - анод; 2 - стержень анода; 3 - ротор; 4 - катод; 5 - баллон.
Источниками анодного напряжения являются высоковольтные импульсные трансформаторы; амплитуды анодного напряжения обычно 200-350 кВ. При подаче на электроды импульса напряжения в трубке возникает автоэлектронная эмиссия, в результате которой между анодом и катодом проходит электрический разряд, носящий характер пробоя в вакууме. Анод трубки при бомбардировке его электронами дает импульс рентгеновского излучения длительностью 10-9 ... 10-6 c.
Недостатком двухэлектродных импульсных трубок является нестабильность интенсивности и спектрального состава излучения, обусловленная тем, что напряжение на аноде, при котором происходит пробой анодно-катодного пространства, сильно изменяется от включения к включению. В трехэлектродных импульсных трубках этот недостаток устраняют введением в трубку дополнительно поджигающего электрода.
При приложении импульса пониженного напряжения (~10 кВ) между поджигающим электродом и катодом в строго заданный момент времени возникает дуговой разряд, который затем переходит в разряд между анодом и катодом.
Импульсные трубки имеют большую мгновенную мощность, а достигнутая частота повторения импульса ≤550 Гц. Мощность дозы излучения на расстоянии 1 м ≤2 Р/мин, тогда как трубки с горячим катодом при таких же напряжениях (250... 300 кВ) дают до 10 Р/мин. Ресурс работы импульсных рентгеновских трубок много меньше, чем трубок накала. В России широкое применение нашли импульсные аппараты сер. АРИНА с анодным напряжением 170...240 кВ для контроля изделий толщиной 30.. .40 мм.
По виду высоковольтной электрической изоляции рентгеновской трубки в защитном кожухе или блок-трансформаторе (моноблоке) рентгеновская промышленная аппаратура подразделяется на рентгеновскую аппаратуру:
Аппараты, в которых в качестве высоковольтной изоляции служит атмосферный воздух, встречаются редко.
По геометрии рабочего пучка рентгеновского излучения блок-трансформаторы(защитные кожухи) с рентгеновскими трубками подразделяются на следующие основные типы:
В рентгеновской аппаратуре с анодным напряжением в диапазоне 0,4 ... 2,0 МВ, когда генерируемое на аноде тормозное излучение «просвечивает» само зеркало анода, различают отраженный пучок излучения и проходящий.
Излучение проходящего пучка обладает значительно большей энергией, чем излучение отраженного пучка (благодаря фильтрации мягкой составляющей тормозного излучения в материале анода рентгеновской трубки).
В настоящее время для промышленной рентгенодефектоскопии применяют в основном переносные рентгеновские аппараты с постоянной нагрузкой в виде:
Современную переносную (портативную) рентгеновскую аппаратуру разрабатывают и изготовляют едиными сериями с учетом возможности просвечивания материалов в широком диапазоне толщин. За базу построения такой серии аппаратов принимают анодное напряжение рентгеновской трубки.
Большинство ведущих иностранных фирм принимают следующий базовый ряд наибольшего напряжения рентгеновской трубки: 10 80; 50 140; 50...200 (220); 80...300; 35 160; 60 250; 100.. .400 кВ.
В России выпускаются портативные рентгеновские аппараты серии «Шмель» с анодным напряжением 80 ...220 кВ для контроля изделий толщиной до 50 мм.
Импульсная рентгеновская аппаратура. К разряду переносной аппаратуры для промышленного просвечивания можно отнести и импульсную рентгеновскую аппаратуру с анодными напряжениями до 0,5 МВ. Принцип действия их основан на возникновении кратковременной (0,1 ... 0,2 мс) вспышки тормозного рентгеновского излучения при электрическом пробое вакуума в двухэлектродной рентгеновской трубке (с холодным катодом) под действием импульса анодного высокого напряжения (220 ... 280 кВ), возникающего на вторичной обмотке высоковольтного трансформатора при разряде накопительной емкости (Ир = 7,5 ...10 кВ) через первичную обмотку высоковольтного трансформатора.
Передвижная (разборная) рентгеновская аппаратура для промышленного просвечивания предназначена для работы в лабораторных условиях. Она позволяет оборудовать временные (передвижные) и стационарные рентгенодефектоскопические установки.
Радиоактивные
Атомные ядра всех химических элементов состоят из элементарных частиц - протонов и нейтронов. Протон и нейтрон считают двумя различными зарядовыми состояниями одной и той же частицы, именуемой нуклоном. Количество протонов в ядре обозначается Z, нейтронов - N. Полное число нуклонов в ядре А = N + Z называется массовым числом ядра.
Большая часть химических элементов имеет несколько разновидностей атомов, отличающихся друг от друга числом нейтронов N в ядре. Такие атомы (и, соответственно, ядра) именуют изотопами. К настоящему времени известно около 300 устойчивых и свыше 1000 неустойчивых изотопов.
Атомы, имеющие одно и то же полное число нуклонов в ядре А, но различающиеся числом протонов Z, называют изобарами. Устойчивые изобары большей частью встречаются парами: 40Аг и 40Са, 54сг и 54Fe, 112Cd и 112Sn. Известно 59 устойчивых изобарных пар и 5 изобарных триад.
Конкретное ядро с данными А и Z называют нуклидом.

Рис. 10. Отклонение излучений в электронном поле.
>Между одноименно заряженными частицами ядра (протонами) действуют силы электростатического отталкивания. С увеличением атомного номера элемента, т.е. с возрастанием числа протонов в ядре, действие электростатических сил отталкивания становится все сильнее. У тяжелых элементов с Z >82 ядерные силы уже неспособны обеспечивать устойчивость ядер и начинается самопроизвольное превращение неустойчивых изотопов в более устойчивые (обычно в изотопы другого элемента). Это явление называют радиоактивностью, или радиоактивным распадом. Радиоактивный распад ядер сопровождается испусканием (α- и β-частиц (α- и β-излучением) и квантов γ-излучения.
Альфа-частицы представляют собой ядра гелия, состоящие из двух протонов и двух нейтронов. Они несут положительный заряд, равный 2 ед. заряда, отклоняются в магнитном и электрическом полях (рис. 10). Пробег (α-частиц в веществе мал, в воздухе достигает 11 см, в биологической ткани 0,1 мм, (α-частицы полностью поглощаются слоем алюминия 0,01 мм.
Бета-частицы - это электроны или позитроны. Под действием магнитного и электрического полей они отклоняются от прямолинейного направления, пробег их в воздухе достигает 10 м, в биологической ткани 10... 12 мм и полностью поглощаются 6-мм листом из алюминиевого сплава или слоем свинца толщиной 1 мм.
Гамма-излучение представляет собой электромагнитное излучение с очень короткой длиной волны (~0,1 нм); заряда не несет, магнитным и электрическим полями не отклоняется; γ-излучение может проникать через стальные изделия толщиной до 500 мм, что обусловливает его преимущественное использование для дефектоскопии материалов.

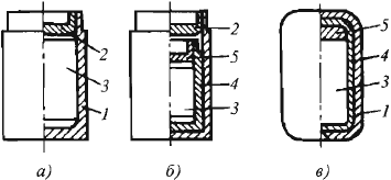
Рис. 11. Конструкции радиоактивных дефектоскопических источников отечественного производства: а, б - заваренных; в - завальцованного; 1 - наружная ампула; 2, 5 - крышки; 3 - активная часть; 4 - внутренняя ампула.
Гамма-излучение может быть получено при распаде как естественных, так и искусственных изотопов. Последние получают облучением активных заготовок в нейтронных потоках ядерных реакторов (60Со, 192Ir), разделением остаточных продуктов деления горючего ядерного реактора (137Cs, 90Sr) облучением неактивных заготовок - мишеней на циклотронах (55Fe, 54Mn ). Естественные изотопы (226Rа и 232Th) для радиационного контроля не используются. Изотопы являются активной частью источника ионизирующего излучения. Их помещают в герметизированные ампулы. Ампулы могут быть заваренные, завальцованные и на резьбе (рис. 11 и 12). Способ герметизации, материал и число ампул зависят от МЭД излучения физического состояния и свойств изотопов. Основными радиационно-дефектоскопическими характеристиками изотопов являются: энергия излучения Е, мощность экспозиционной дозы Р, удельная активность источника, период полураспада (Т1/2).
Радиоактивные источники γ-излучения представляют собой ампулы, заполненные у-активным нуклидом. Источники можно разделить на следующие группы: высокоэнергетические (54Mn , 60Cо и другие источники ионизирующего излучения с эффективной Еэф ≥ 0,8 МэB), среднеэнергетические (192Ir, 137Cs и др. c 0,3 < Еэф < 0,8 МэБ), низкоэнергетические (170Tm , 75Se и др. с Еэф < 0,3 МэB).
В промышленности наиболее широко применяют источники ионизирующего излучения 241Аm , 169Yb, 170Tm , 75Se, 192Ir, 137Cs и 60Cо, реже 145Sm, 155Еu и др. в связи с их высокой стоимостью, сложностью получения исходного сырья и трудностью отделения сопутствующих примесей.

Рис. 12. Конструкции радиоактивных дефектоскопических источников ионизирующего излучения на резьбе и сварного: 1 - наружная ампула; 2, 5 - крышки; 3 - активная часть; 4 - внутренняя ампула; б-баллон.
Радиоактивные источники быстрых нейтронов. Ядра некоторых радионуклидов при распаде испускают α-частицы или γ-кванты с энергией, превышающей порог реакций (α, n) и (γ, n) на некоторых легких элементах. На основе таких нуклидов можно создавать достаточно простые и компактные источники нейтронов. Энергия α-частиц, испускаемых α-радиоактивными нуклидами ( 210Ро, 227Ас, 242Сm), обычно 5...6 МэВ. Под воздействием таких частиц реакция (α, n) с относительно большой вероятностью осуществима лишь на ядрах некоторых легких элементов (бериллий, бор, фтор, литий), которые в основном и используются в качестве мишеней в рассматриваемых источниках ионизирующего излучения. В зависимости от энергии α-частиц максимальная энергия нейтронов, возникающих в реакции (α, n) на бериллии, боре и фторе, не превышает соответственно 10... 12, ~6 и ~3 МэВ, а средняя энергия нейтронов для этих источников ионизирующего излучения соответственно 3,5 .. .4,5; 2,5 ... 3 и 1... 1,5 МэВ.
Сравнивая энергию γ-излучения радионуклидов с энергией связи нейтронов в различных атомных ядрах, видим, что при создании фотонейтронных источников в качестве источников γ-излучения можно использовать ограниченное число радионуклидов, а как мишени только бериллий и дейтерий, у которых энергия связи нейтронов в ядрах соответственно 1,6665 и 2,226 МэВ. Реакцию (γ, n) могут вызвать лишь γ--кванты, энергия которых превышает указанную энергию связи нейтрона.
Конструктивно фотонейтронные источники ионизирующего излучения обычно представляют собой блок из бериллия или тяжелой воды с линейными размерами в несколько сантиметров, внутри которого размещается в герметичной ампуле источник γ-излучения.
Из различных фотонейтронных источников ионизирующего излучения наиболее широко применяют (124Sb + Ве)-источник, что объясняется относительно большим периодом полураспада 124Sb (60 дней) и возможностью получения высокой удельной активности сурьмы.
Существенными недостатками всех активных фотонейтронных источников ионизирующего излучения являются:
Среди радиоактивных источников нейтронов особое место занимают источники 238Pu , 242Сm, 244Сm, 252Cf, основанные на спонтанном (самопроизвольном) делении ядер.
Наиболее предпочтительным для изготовления является 252Cf.
Так как при радиационном контроле используют в основном тепловые нейтроны, то быстрые нейтроны, выходящие из радиоактивного источника ионизирующего излучения, пропускают через замедлитель, выполненный из легких элементов. При этом поток тепловых нейтронов становится в 103 раз меньше потока быстрых нейтронов, выходящих из источника .
При просвечивании изделий в случае использования геометрии узкого пучка излучения (отношение длины коллиматора к его ширине ≥1О : 1) степень ослабления потока быстрых нейтронов из источника в поток тепловых нейтронов в месте установки детектора 106. Таким образом, если необходима плотность потока тепловых нейтронов 104 с-1 * см-2 , то соответствующий выход быстрых нейтронов из источника должен составлять 1010 с-1 * см-2 .
В продолжение данной темы читайте еще об одном источнике ионизирующего излучения на странице Гамма-дефектоскоп.
Другие страницы по теме "Источники ионизирующего излучения (ИИИ)":
Copyright. При любом цитировании материалов Cайта, включая сообщения из форумов, прямая активная ссылка на портал weldzone.info обязательна.