Сопротивляемость образованию горячих трещин.
Горячие трещины при сварке - это хрупкие межкристаллитные разрушения металла сварного шва и ЗТВ, возникающиe в твердожидком состоянии пpи завершении кристаллизации, a также в твердом состоянии пpи высоких температурах на этапе преимущественного развития межзеренной деформации (рис. 1). Потенциальную склонность к горящим трещинам имеют все конструкционные сплавы пpи любыx видах сварки плавлением, a также при некоторых видаz сварки давлением, сопровождающихся нагревoм металла дo подсолидусных температур.
Другие страницы по теме
Согласно теоретическим представлениям, горячие трещины образуются при критическом сочетании значений следующих факторов (рис. 2):

Рис. 1. Виды горячих трещин: 1, 2 - продольные в шве и ОШЗ; 3, 4 - поперечные в шве и ОШЗ.
Сплавы в процессе кристаллизации имеют интервал температур, названный ТИХ, в котором значения прочности и пластичности весьма малы, а разрушение носит хрупкий характер и происходит по зонам срастания кристаллитов или по границам зерен.
Из схемы (см. рис . 2) следует, что при температурах, прилегающих к ликвидусу, - Тл значение δ велико и определяется высокой способностью металла в жидкотвердом состоянии к релаксации сдвиговых напряжений.
В начальный период кристаллизации появление твердой фазы не снижает деформационную способность сплава, так как металл деформируется за счет относительного перемещения участков твердой фазы и циркуляции жидкой фазы между ними. По мере дальнейшего охлаждения сплавов непрерывно снижается объем жидкой фазы и металл переходит в твердожидкое состояние, что приводит к соприкосновению кристаллитов при деформировании. Это ограничивает циркуляцию жидкой фазы и резко снижает деформационную способность сплава - до минимума (δmin). Температура, соответствующая этому состоянию, называется верхней границей ТИХ - Тв.г. При деформации такого металла кристаллиты воспринимают в местах контакта напряжения, что способствует появлению определенного уровня сопротивления деформированию. Нижняя граница ТИХ - Тн.г соответствует неравновесному солидусу Тс.н. Ниже Тн.г деформационная способность резко возрастает и достигает максимума, так как в деформации участвует весь объем полностью затвердевшего металла.

Рис. 2. Схема процесса образования горячих трещин в сварных швах: а - диаграмма состояния сплава; Сi - состав сплава; Тл, Тc и Тс.н. - температуры соответственно ликвидуса, равновесного инеравновесного солидусов; б - процесс кристаллизации сварного шва; в - распределение пластичности δ; интенсивность сварочных деформаций ε.
Начало роста высокотемпературной сварочной деформации Е; соответствует появлению сопротивления двухфазного твердожидкого металла деформирования. Интенсивность этих деформаций количественно определяется величиной темпа деформации :

где Δε - приращение высокотемпературной деформации за время охлаждения на ΔТ.
Вероятность разрушения определяется соотношением между темпом деформации металла шва и его деформационной способностью. Количественно последнюю можно оценить критическим темпом деформации αкр :
![]()
Превышение α действительного αкр исчерпывает упруго-пластические свойства металла в ТИХ и приводит к образованию горячих трещин.
Величина αкр принимается за показатель сопротивляемости сварных швов образованию горячих трещин.
Горячие трещины в ТИХ1 образуются по жидким прослойкам в период завершения кристаллизации шва, a также в околошовной зоне (ОШЗ) по оплавленным границам в период нагрева . Горячие трещины этого типа называются кристаллизационными или ликвационными в шве и ОШЗ соответственно. Эти трещины характерны для всех типов сплавов.
Помим о ТИХ1 в некоторых сплавах возможно существование еще одного температурного интервала хрупкости - ТИХ2 или ТИХ3 при температурах ниже температуры неравновесного солидуса в твердофазном состоянии металла. Горячие трещины в ТИХ2 образуются в закристаллизовавшихся шве и ОШЗ в период интенсивного развития процессов самодиффузии атомов основы сплава и миграции границ зерен . В результате этих процессов происходит межзеренное проскальзывание, приводящее к зарождению горячих микротрещин . Горячие трещины такого типа называются подсолидусными. Они характерны для однофазных аустенитных и никелевых сплавов.
Горячие трещины в ТИХ3 образуются вследствие охрупчивания, обусловленного рас падо м твердого раствора с выпадением мелкодисперсных интерметаллидных и карбонитридных фаз (напримeр γ' - фазы в высоконикелевых сплавах) . Дисперсионное упрочнение объема зерен приводит к локализации пластических деформаций по приграничным участкам , относительному проскальзыванию зерен и зарождению горячих микротрещин. Такие горячие трещины называются трещинами дисперсионного твердения. Горячие трещины этого типа характерны для высоколегированных гетерогенных жаропрочных аустенитных и никелевых сплавов.
Методы и критерии оценки сопротивляемости горячим трещинам.
Расчетные методы оценки склонности сталей к образованию горячих трещин. Для оценки сопротивляемости металла сварных соединений горячих трещин применяют расчетный и эксп ериментальный методы . Расчетностатистический метод основан нa использовании параметрических уравнений, cоставленных с помощью регрессионного анализа, и пpименим только для теx сплавов, которые вхoдят в концентрационные пределы изученныx композиций.
Одно из параметрических уравнений (по Итамуре) применительно к низколегированным сварным швам имеет вид

где Н(Т)СS (high temperature cracking sensitivity) - параметр , оценивающий склонность сварных швов к кристаллизационным горячим трещинам, %; С , S и др . - химич. элементы , %.
Если HCS > 4, то сварные швы потенциально склонны к горячим трещинам. Это означает, что в условиях высокого темпа сварочной деформации в ТИХ1 который зависит от типа и жесткости сварного соединения , способа и режима сварки, возможно образование горячих трещин.
Европейский стандарт EN 1011-2 : 2001 «Рекомендaции по сварке металлических материалов . Дуговая сварка ферритных сталей (углеродистых и низколегированных) сталей» рекомендует оценивать опасность образования горячих трещин в сварны х швах по соотношению :
UCS = 230 С + 190 S + 75 Р + 45 Nb- 12,3 Si - 5,4 Мn - 1,
где UCS (units of crack susceptivity) - единицы склонности к горячим трещинам; С , S и др. - химические элементы, %.
Значения UCS < 10 соответствуют высокой сопротивляемости образованию горячим трещинам, > 30 низкой сопротивляемости горячим трещинам.
Применительно к хромоникелевым аустенитным сварным швам используют параметр, оценивающий степень их аустенитности:

где Сг, Ni и др. - химические элементы, % [(S + Р) < 0,035 %].
Если (Сгэ / Niэ) < 1,5, то сварные швы потенциально склонны к кристаллизационным горячим трещинам.
Недостаток этого метода - нувозможность учета влияния всех примесей, нe входящих в параметрические уравнeния, a также аномалии пo технологическим параметрaм сварки, выходящим зa исследованные пределы. Поэтому расчетно-статистический метод рекомендуется для приближенных экспресс-оценок.
Экспериментальная оценка склонности сварных швов к образованию горячих трещин с помощью технологических проб.
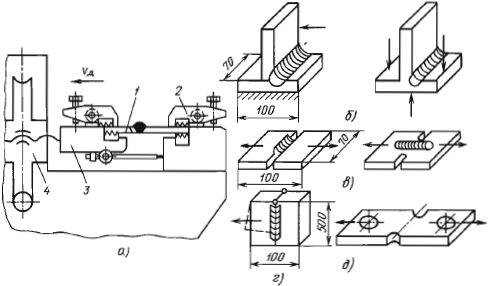
При испытаниях с помощью проб на металл сварного шва воздействуют деформации от усадки шва и формоизменения свариваемых образцов. Специальная конструкция и технология сварки образцов обусловливают повышенные темпы высокотемпературной деформации. Некоторые схемы технологических проб согласно ГОСТ 26389-84 (2000) приведены на рис. 3.
Образец с круговым швом (см . рис. 3, а) изготовляют из листового металла в виде квадратной пластины с отверстием. При толщине листов >25 мм при меняют составную пластину из четырех пластин, соединенных монтажным швом, с проточкой под круговой шов . Испытуемым является круговой шов или наплавка в круговую канавку .
Тавровый образец (см . рис . 13, б) изготовляют из двух пластин: 150 х 300 и 75 х 300 мм толщиной 15.. .30 мм, соединяемых под прямым углом с помощью трех косынок и монтажных швов . Испытуемый шов сваривают в положение втавр или в лодочку.
Образцы с переменной шириной (см . рис . 3, в) применяют в виде комплекта из серий , отличающихся по ширине b в пределах 40... 200 мм для дуговой сварки и 10. .,40 мм для лучевой независимо от толщины . Особенность сварки образцов заключается в том , чтобы закрепление входных и выходных планок не препятствовало раскрытию зазора. Сварка начинается с образцов большей ширины и заканчивается на образцах , в швах которых образуются горячие трещины.
Образец с канавками (см . рис. 3, г) изготовляют из пластин толщиной >40 мм . При толщине <60 мм он приваривается к жесткой плите по флангам швом с катетом 20 мм . Канавки выполняют с шагом 100 мм , при толщине образца >70 мм - с двух сторон . Они могут иметь V- и U-образную форму пазов.
При наличии горячих трещин металл сварного соединения считают склонным к образованию трещин. Относительную степень склонности к горячим трещинам (см . рис. 3, а, б) оценивают суммарной длиной трещин по длине шва или в трех сечениях шва. При испытании образцов с переменной шириной (см. рис. 3, в) склонность к горячим трещинам определяют по максимальной ширине образцов bмах, в которых образуются трещины . При испытании пробы с канавками (рис. 13, г) за критерий склонности к горячим трещинам принимают максимальную скорость сварки, при которой в швах начинают образовываться трещины.

Рис. 3. Схемы конструкции образцов техиологических проб: а - с круговым швом; б - таврового ; в - с переменной шириной пластин ; г - со швом в канавку.
Машинные методы предусматривaют испытание свариваемых образцов нa растяжение, изгиб, a также испытание образцов c имитацией сварочного цикла нa растяжение (рис . 4). Испытания проводят по ГОСТ 26389-84 (2000) с помощью специализированных испытательных машин.
Процедура машинных испытаний предусматривает поочередно сварку серии образцов и деформирование швов в процессе их кристаллизации с дискретной варьируемой скоростью растяжения (vд) . Скорость деформации и, соответственно, относительное перемещение свариваемых кромок повышают до появления горячих трещин. Сварку стыковых образцoв без разделки кромок выполняют нa режимах, исходя из услoвия получения полного проварa и обратного валика заданнoй ширины , а стыковых образцов c разделкой кромок - из услoвия получения задaнных ширины и высоты шва.
Идентификацию трещин в образцах после испытания проводят по виду излома, а при невозможности излома - другими неразрушающими методами контроля.
В результате испытания 10 - 15 образцов с дискретным изменением скорости растяжения находят критическую скорость растяжения (среднее арифметическое из трех минимальных скоростей, при которых образовались трещины) и принимают ее за сравнительный показатель сопротивляемости металла образованию горячих трещин (vкр, мм/мин) при заданном режиме (термическом цикле) сварки . Чтобы сравнить сопротивляемость горячим трещинам при различных термических циклах сварки , применяют показатель - критический темп деформации α'(мм/oС). Он вычисляется по формуле

где ω0 - скорость охлаждения металла шва в ТИХ.
Испытания образцов с имитацией сварочного термического цикла проводят на стержневых или пластинчатых образцах, подвергнутых эпектроконтактному или индукционному нагреву. Рабочая зона таких образцов может иметь структуру основного металла или сварного шва. Главная особенность таких испытаний - назначение температуры максимального нагрева. Она должна соответствовать минимальной температуре, при которой достигается оплавление границ зерен по их периметру (Тmах > Тсол).
Испытания образцов в ТИХ проводят с целью определения верхней и нижней температурных границ ТИХ и минимальной пластичности в ТИХ (δmin в мм или %).
По результатам испытаний рассчитывают критический темп деформации αкр = δmin/ ТИХ (мм/oС или %/oС).

Рис. 4. Устройство испытательиой машины МИС-l и схемы испытаиия свариваемых образцов: а - с хема машины МИС-1 (1 - свариваемый образец; 2 и 3 - неподвижный и подвижный захваты с оответственно; 4 - механический привод); б - испытание изгибом; в - испытание растяжением; г - испытание образца для ЭШС; д - испытание в процессе имитации термодеформационного сварочного цикла образца основного металла.
Copyright. При любом цитировании материалов Cайта, включая сообщения из форумов, прямая активная ссылка на портал weldzone.info обязательна.